|
序号 |
代码 |
名称 |
数量 |
|
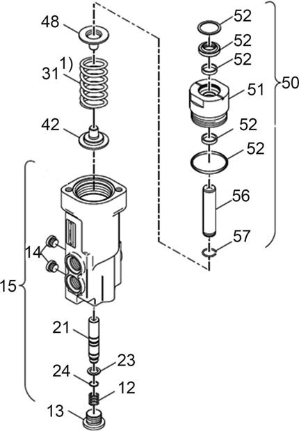
1 |
60140760 |
防尘密封圈 Danfoss |
1 |
|
5 |
60140761 |
轴封 Danfoss |
1 |
|
6 |
60140757 |
O形圈 Danfoss |
1 |
|
12 |
60140733 |
弹簧 Danfoss |
1 |
|
25 |
60140717 |
唇形密封 Danfoss |
1 |
|
41 |
60140734 |
弹簧 Danfoss |
1 |
|
42 |
60140735 |
弹簧 Danfoss |
1 |
|
43 |
60140736 |
弹簧 Danfoss |
1 |
|
44 |
60140737 |
弹簧 Danfoss |
1 |
|
45 |
60140738 |
弹簧 Danfoss |
1 |
|
46 |
60140739 |
弹簧 Danfoss |
1 |
|
47 |
60140740 |
弹簧 Danfoss |
1 |
|
48 |
60140741 |
弹簧 Danfoss |
1 |
|
49 |
60140742 |
弹簧 Danfoss |
1 |
|
50 |
60140743 |
弹簧 Danfoss |
1 |

|
序号 |
代码 |
名称 |
数量 |
|
1 |
A210111000090 |
螺栓 |
2 |
|
2 |
A210401000017 |
垫圈 |
2 |
|
3 |
B220401001141 |
刹车阀4 |
1 |
|
4 |
B210780000037 |
端直通接头 |
1 |
|
5 |
B210780001026 |
端直通接头 |
2 |
|
6 |
B210780000636 |
直角组合接头 |
1 |
|
7 |
B210780000015 |
三通组合L型接头 |
1 |
|
8 |
60222700 |
接头MVONW10L |
1 |
|
9 |
13127423 |
压力传感器 |
1 |

|
序号 |
代码 |
名称 |
数量 |
|
12 |
60136697 |
压缩弹簧 Rexroth |
1 |
|
13 |
60136624 |
堵头 Rexroth |
1 |
|
14 |
60136623 |
堵头 Rexroth |
2 |
|
15 |
60136649 |
壳体 Rexroth |
1 |
|
21 |
60136551 |
阀芯 Rexroth |
1 |
|
23 |
60136515 |
环 Rexroth |
1 |
|
24 |
60136603 |
弹性挡圈 Rexroth |
1 |
|
31 |
60136701 |
压缩弹簧 Rexroth |
1 |
|
42 |
60136601 |
弹簧座 Rexroth |
1 |
|
48 |
60136602 |
弹簧座 Rexroth |
1 |
|
50 |
60136745 |
操纵器 Rexroth |
1 |
|
51 |
60136639 |
滑套 Rexroth |
1 |
|
52 |
60136522 |
密封套件 Rexroth |
1 |
|
56 |
60136691 |
销 Rexroth |
1 |
|
57 |
60136604 |
弹性挡圈 Rexroth |
1 |

|
序号 |
代码 |
名称 |
数量 |
|
1 |
67301761 |
压力传感器 40MP,0~40mA,G1/4,D |
1 |
|
2 |
A241200001134 |
4芯矩形插头4P24/13H |
1 |
|
3 |
B241200000586 |
次极锁4线(插座) |
1 |
|
4 |
60247805 |
四线插头护套DT4S-BT |
1 |
|
5 |
B229900001093 |
插管 |
2 |

|
序号 |
代码 |
名称 |
数量 |
|
1 |
60186271 |
管夹体SP430/30-PP GD-AS |
5 |
|
2 |
60014674 |
管夹体 |
5 |
|
3 |
A210204000117 |
螺钉M5×20GB70.1 |
7 |
|
4 |
13867619 |
臂架管夹盖板 |
5 |
|
5 |
A210111000029 |
螺栓 |
10 |
|
6 |
A210404000003 |
垫圈 |
15 |
|
7 |
13867741 |
臂架组合下管夹 |
5 |
|
8 |
13867742 |
臂架组合上管夹 |
5 |
|
9 |
A820101350327 |
管夹盖板 |
1 |
|
10 |
A210111000030 |
螺栓M10×55GB5783 |
3 |
|
11 |
A210401000001 |
垫圈 |
3 |
|
12 |
A820101350328 |
组合管夹体 |
1 |
|
13 |
A820601991102 |
组合管夹体 |
1 |
|
14 |
60165343 |
管夹体SP538-PPH DP-AS |
3 |
|
15 |
A210204000486 |
螺钉M6×60GB70.1 10.9级 |
6 |

|
序号 |
代码 |
名称 |
数量 |
|
1 |
A820101350330 |
伸缩系统管夹盖板 |
2 |
|
2 |
A820101350536 |
伸缩系统管夹体2 |
4 |
|
3 |
A820101350550 |
伸缩系统管夹体3 |
2 |
|
4 |
13195979 |
伸缩系统上管夹 |
2 |
|
5 |
A210110000218 |
螺栓M10×80GB5782 |
8 |
|
6 |
A210401000001 |
垫圈 |
8 |
|
7 |
13195966 |
伸缩系统下管夹 |
2 |
|
8 |
A210204000116 |
螺钉M5×16GB70.1 |
4 |

|
序号 |
代码 |
名称 |
数量 |
|
9 |
A820101350321 |
管夹盖板 |
2 |
|
10 |
A210111000029 |
螺栓 |
6 |
|
11 |
A210404000003 |
垫圈 |
6 |
|
12 |
12768531 |
吊具组合管夹体 |
2 |
|
13 |
12768533 |
吊具组合管夹体 |
2 |
|
14 |
A210111000071 |
螺栓M5×20GB5783 |
4 |
|
15 |
60165334 |
单联管夹TLPG16-218 |
5 |
|
16 |
60014678 |
管夹体 |
2 |
|
17 |
60165336 |
管夹体SP325/25-PP DP-AS |
6 |

|
序号 |
代码 |
名称 |
数量 |
|
17 |
60165336 |
管夹体SP325/25-PP DP-AS |
6 |
|
18 |
60014676 |
管夹体 |
3 |
|
19 |
60165343 |
管夹体SP538-PPH DP-AS |
4 |
|
20 |
13276489 |
伸缩钢管支架 |
3 |
|
21 |
60028715 |
管夹 |
3 |