|
序号 |
代码 |
名称 |
数量 |
|
1 |
A829900002452 |
冷却转换阀块 冷却转换阀块 |
1 |
|
2 |
B210780000131 |
端直通接头 |
4 |
|
3 |
B220400000083 |
溢流阀 |
1 |
|
4 |
B210780000201 |
螺塞 |
1 |
|
5 |
B220400000182 |
电磁换向阀SV3-10-O-0-24DG |
1 |
|
6 |
B210770000084 |
测压接头 |
1 |
|
7 |
B220401000539 |
单向阀 |
1 |

|
序号 |
代码 |
名称 |
数量 |
|
1 |
A210111000090 |
螺栓 |
2 |
|
2 |
A210401000017 |
垫圈 |
2 |
|
3 |
B220401001141 |
刹车阀4 |
1 |
|
4 |
B210780000037 |
管接头 |
1 |
|
5 |
B210780001026 |
端直通接头 |
1 |
|
6 |
B210780001701 |
端直通组合接头 |
1 |
|
7 |
B210780000024 |
直角组合接头 |
1 |
|
8 |
B210780000232 |
端直通接头 |
1 |
|
9 |
10244687 |
刹车开关接头 |
1 |
|
10 |
A210434000006 |
垫圈 |
2 |
|
11 |
B241200000935 |
压力开关 |
1 |
|
12 |
B210780000036 |
端直通接头 |
1 |

|
序号 |
代码 |
名称 |
数量 |
|
12 |
60136697 |
压缩弹簧 Rexroth |
1 |
|
13 |
60136624 |
堵头 Rexroth |
1 |
|
14 |
60136623 |
堵头 Rexroth |
2 |
|
15 |
60136649 |
壳体 Rexroth |
1 |
|
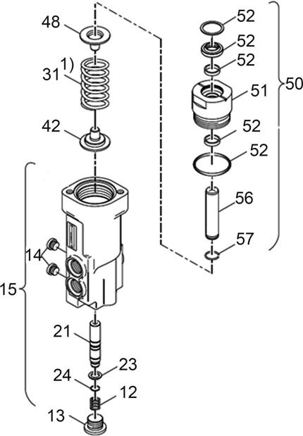
21 |
60136551 |
阀芯 Rexroth |
1 |
|
23 |
60136515 |
环 Rexroth |
1 |
|
24 |
60136603 |
弹性挡圈 Rexroth |
1 |
|
31 |
60136701 |
压缩弹簧 Rexroth |
1 |
|
42 |
60136601 |
弹簧座 Rexroth |
1 |
|
48 |
60136602 |
弹簧座 Rexroth |
1 |
|
50 |
60136745 |
操纵器 Rexroth |
1 |
|
51 |
60136639 |
滑套 Rexroth |
1 |
|
52 |
60136522 |
密封套件 Rexroth |
1 |
|
56 |
60136691 |
销 Rexroth |
1 |
|
57 |
60136604 |
弹性挡圈 Rexroth |
1 |

|
序号 |
代码 |
名称 |
数量 |
|
1 |
B210780000036 |
端直通接头 |
2 |
|
2 |
60247913 |
O形圈32.5×3.55GB3452.1 氟橡胶 |
1 |
|
3 |
13129048 |
顺序阀块 顺序阀块 |
1 |
|
4 |
B210780000201 |
螺塞 |
1 |
|
5 |
B210770000084 |
测压接头 |
1 |
|
6 |
A210204000010 |
螺钉M10×50GB70.1 |
4 |
|
7 |
A210401000001 |
垫圈 |
4 |
|
8 |
B220401001291 |
顺序阀 |
1 |
|
9 |
B210780000047 |
管接头 |
1 |

|
序号 |
代码 |
名称 |
数量 |
|
1 |
B229900003708 |
蓄能器 |
1 |
|
2 |
A820601020473 |
橡胶护套 |
1 |
|
3 |
A820101353529 |
蓄能器卡箍 |
1 |
|
4 |
A210204000196 |
螺钉 |
2 |
|
5 |
A210401000001 |
垫圈 |
2 |
|
6 |
A820606010001 |
垫 |
1 |
|
7 |
13389063 |
蓄能器过渡接头 |
1 |
|
8 |
60247916 |
O形圈63×3.55GB3452.1 氟橡胶 |
1 |
|
9 |
B210780000037 |
管接头 |
1 |

|
序号 |
代码 |
名称 |
数量 |
|
1 |
60004233 |
蓄能器胶囊 |
1 |
|
2 |
60004230 |
密封修理包 |
1 |
