|
序号 |
代码 |
名称 |
数量 |
|
1 |
60134379 |
阀体 DANA |
1 |
|
2 |
60134367 |
管塞 DANA |
1 |
|
3 |
60121751 |
安全阀体座 dana |
1 |
|
4 |
60121750 |
安全阀间隔环 dana |
1 |
|
5 |
60121890 |
释放压力柱塞 |
1 |
|
6 |
60121749 |
安全阀弹簧 |
1 |
|
7 |
60121051 |
O形圈 |
1 |
|
8 |
60121821 |
安全阀弹簧顶套 dana |
1 |
|
9 |
60121754 |
摆销 dana |
1 |
|
10 |
60121754 |
摆销 dana |
1 |
|
11 |
60121682 |
阀止动套 |
1 |
|
12 |
60121050 |
O形圈 |
1 |
|
13 |
60121914 |
压力校准阀活塞 dana |
1 |
|
14 |
60121913 |
压力校准弹簧(内部) |
1 |
|
15 |
60121778 |
弹簧 dana |
1 |
|
16 |
60099756 |
泵驱动轴油封 |
1 |
|
17 |
60121753 |
摆销 dana |
3 |

|
序号 |
代码 |
名称 |
数量 |
|
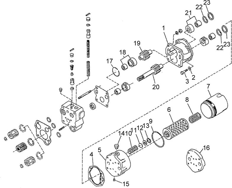
1 |
60168559 |
20GPM送液泵装配DANA |
1 |
|
2 |
60134393 |
泵防松垫圈 DANA |
4 |
|
3 |
60121881 |
螺栓 dana |
4 |
|
4 |
60121735 |
垫衬-泵到过滤器 dana |
1 |
|
5 |
60121653 |
过滤自适器 dana |
1 |
|
6 |
60015465 |
变速箱油滤芯 |
1 |
|
7 |
60121736 |
过滤器安装套 dana |
1 |
|
8 |
60121842 |
过滤器弹簧 dana |
1 |
|
9 |
60121961 |
O形圈-过滤自适安装套 dana |
1 |
|
10 |
60121841 |
过滤盘过道弹簧 dana |
1 |
|
11 |
60121738 |
过滤器过道盘 dana |
1 |
|
12 |
60121737 |
过滤器过道密封 dana |
1 |
|
13 |
60121654 |
环 dana |
1 |
|
14 |
60099571 |
安装销 DANA |
1 |
|
15 |
60099571 |
安装销 DANA |
1 |
|
16 |
60135351 |
泵端盖 DANA |
1 |
|
17 |
60135363 |
止动环 DANA |
1 |
|
18 |
60135364 |
套筒 DANA |
1 |
|
19 |
60135353 |
齿轮轴 DANA |
1 |
|
20 |
60135354 |
齿轮轴 DANA |
1 |
|
21 |
60135365 |
套筒 DANA |
1 |
|
22 |
60135362 |
密封圈 DANA |
1 |

|
序号 |
代码 |
名称 |
数量 |
|
23 |
60135356 |
防松垫圈 DANA |
1 |

|
序号 |
代码 |
名称 |
数量 |
|
1 |
60121790 |
衬垫 |
1 |
|
2 |
60099665 |
螺钉 |
2 |
|
3 |
60134400 |
防松垫片 |
2 |

|
序号 |
代码 |
名称 |
数量 |
|
1 |
60121634 |
垫衬 |
1 |
|
2 |
60099665 |
螺钉 |
7 |
|
3 |
60099699 |
锁止垫圈 |
7 |

|
序号 |
代码 |
名称 |
数量 |
|
1 |
60135340 |
控制阀盖 DANA |
1 |
|
2 |
60099509 |
塞 DANA |
7 |
|
3 |
60121684 |
往返阀 dana |
1 |
|
4 |
60121836 |
复位线轴 dana |
1 |
|
5 |
60121835 |
复位弹簧 dana |
1 |
|
6 |
60121920 |
针销 dana |
1 |
|
7 |
60099780 |
检查孔塞 DANA |
2 |
|
8 |
60099750 |
O形圈 DANA |
2 |
|
9 |
60099496 |
管塞 DANA |
1 |
|
10 |
60099764 |
管塞O形圈 |
1 |
|
11 |
60099529 |
蓄压器阀芯 DANA |
1 |
|
12 |
60099708 |
蓄压器阀芯止动销 DANA |
1 |
|
13 |
60121883 |
内弹簧 dana |
1 |
|
14 |
60121925 |
中弹簧 dana |
1 |
|
15 |
60121896 |
外蓄线弹簧 dana |
1 |
|
16 |
60121845 |
缓动固定装置 dana |
1 |
|
17 |
60121985 |
油封 dana |
1 |
|
18 |
60121947 |
O形圈 dana |
1 |
|
19 |
60121847 |
缓回程弹簧 dana |
1 |
|
20 |
60134373 |
微调激励棒 DANA |
1 |
|
21 |
60121848 |
缓校正弹簧 dana |
1 |
|
22 |
60121656 |
缓动套 dana |
1 |
