|
序号 |
代码 |
名称 |
数量 |
备注 |
|
1 |
60256770 |
后轮毂990.12.34.0068 |
2 |
|
|
2 |
60041535 |
车轮螺栓 |
20 |
|
|
3 |
60256750 |
车轮螺母总成990.03.88.4160 |
20 |
|
|
4 |
21007955 |
滚动轴承 |
2 |
|
|
5 |
60041482 |
挡油罩 |
2 |
|
|
6 |
60256803 |
齿圈支架990.12.34.0120 |
2 |
|
|
7 |
60256745 |
半轴油封总成990.12.34.0067 |
2 |
|
|
8 |
60256748 |
锁紧螺母2401028-STR1 |
2 |
|
|
9 |
60256760 |
轴头锁片2401030-STR1 |
2 |
|
|
10 |
60041504 |
轮边减速器壳 |
2 |
|
|
11 |
60041585 |
行星轮轴 |
10 |
|
|
12 |
60041513 |
行星轮 Z=16 |
10 |
|
|
13 |
60256801 |
行星架990.12.34.0108 |
2 |
|
|
14 |
60227921 |
挡油盘WG880420027 |
2 |
|
|
15 |
60020788 |
制动鼓 |
2 |
|
|
16 |
60041511 |
太阳轮 |
2 |

|
序号 |
代码 |
名称 |
数量 |
备注 |
|
1 |
60175196 |
橡胶悬置总成1000989 5.933 |
1 |
|
|
2 |
A210401000001 |
垫圈 |
16 |
|
|
3 |
A229900001360 |
垫圈 |
48 |
|
|
4 |
A210111000011 |
螺栓 |
16 |
|
|
5 |
A210319000024 |
螺母M18×1.5(GB889.2) 10级 |
32 |
|
|
6 |
A210114000122 |
螺栓M18×1.5×60GB5786 10.9级 |
32 |
|
|
7 |
A210113000261 |
螺栓M18×1.5×80GB5785 10.9级 |
8 |
|
|
8 |
A210307000007 |
螺母 |
16 |
|
|
9 |
A210110000260 |
螺栓M24×160GB5782 10.9级 |
8 |
|
|
10 |
10125894 |
缓冲块 |
4 |
|
|
11 |
10490661 |
缓冲块压板 |
4 |

|
序号 |
代码 |
名称 |
数量 |
备注 |
|
1 |
13782395 |
冷却系装置 |
1 |
|
|
2 |
13526820 |
排气系装置 |
1 |
|
|
3 |
13766281 |
发动机悬置 |
1 |
|
|
4 |
13785520 |
进气系装置 |
1 |
|
|
5 |
13371169 |
发动机舱装配总成 |
1 |
|
|
6 |
12391872 |
供油系 |
1 |

|
序号 |
代码 |
名称 |
数量 |
备注 |
|
1 |
13086204 |
散热器右支架 |
1 |
|
|
2 |
13085327 |
散热器左支架 |
1 |
|
|
3 |
13782397 |
发动机出水钢管总成 |
1 |
|
|
4 |
13529595 |
发动机进水钢管总成 |
1 |
|
|
5 |
13221015 |
尿素箱支架 |
1 |
|
|
6 |
12271879 |
散热器拉杆 |
2 |
|
|
7 |
A210405000007 |
垫圈 |
7 |
|
|
8 |
A210405000011 |
垫圈 |
6 |
|
|
9 |
A210405000001 |
垫圈 |
14 |
|
|
10 |
A210405000003 |
垫圈 |
11 |
|
|
11 |
A229900002031 |
T型抱箍 |
5 |
|
|
12 |
A229900003104 |
T型抱箍 |
2 |
|
|
13 |
60022386 |
直通球阀 |
2 |
|
|
14 |
60067319 |
散热器ZH730×200×1080-S105Z55Q/SY015028 |
1 |
|
|
15 |
60067601 |
护风罩1309-670-75t |
1 |
|
|
16 |
A210855000003 |
喉箍 |
8 |
|
|
17 |
B229900001059 |
T型抱箍 |
4 |
|
|
18 |
A810101000148 |
散热器软垫 |
4 |
|
|
19 |
A210319000001 |
螺母M10GB889.1 |
6 |
|
|
20 |
A210111000018 |
螺栓 |
4 |
|
|
21 |
A210319000006 |
螺母M12GB889.1 |
14 |
|
|
22 |
A210111000039 |
螺栓 |
4 |

|
序号 |
代码 |
名称 |
数量 |
备注 |
|
23 |
A210111000045 |
螺栓 |
6 |
|
|
24 |
A210111000127 |
螺栓M12×80GB5783 |
2 |
|
|
25 |
A210319000004 |
螺母 |
7 |
|
|
26 |
A210111000090 |
螺栓 |
7 |
|
|
27 |
A229900002964 |
软管环箍 |
2 |
|
|
28 |
A229900001347 |
软管环箍 |
13 |
|
|
29 |
11476844 |
水管抱箍SYM51080J.1.5-60 |
1 |
|
|
30 |
13782393 |
发动机出水胶管 |
1 |
|
|
31 |
13782394 |
出水钢管支架 |
1 |
|
|
32 |
13534748 |
发动机进水管支架 |
2 |
|
|
33 |
11538215 |
阶梯螺栓SYM5422J.10.2-10 |
4 |
|
|
34 |
13221276 |
电磁阀固定板 |
1 |
|
|
35 |
11143844 |
膨胀水箱 |
1 |
|
|
36 |
12987286 |
散热器出水胶管 |
1 |
|
|
37 |
12987515 |
散热器撑杆右支架 |
1 |
|
|
38 |
12988686 |
散热器撑杆左支架 |
1 |
|
|
39 |
12271856 |
尿素泵进水管 |
1 |
|
|
40 |
12271857 |
除气管2 |
1 |
|
|
41 |
12271859 |
暖风水管1 |
2 |
|
|
42 |
12271860 |
暖风水管2 |
2 |
|
|
43 |
12271862 |
横梁 |
1 |
|
|
44 |
12271865 |
尿素泵喷嘴回水管 |
1 |

|
序号 |
代码 |
名称 |
数量 |
备注 |
|
45 |
12271866 |
发动机补水管 |
1 |
|
|
46 |
12271867 |
尿素箱回水管 |
1 |
|
|
47 |
12271868 |
尿素箱进水管 |
1 |
|
|
48 |
12271869 |
发动机出水管 |
1 |
|
|
49 |
12271870 |
除气管1 |
1 |
|
|
50 |
10226862 |
发动机水口接口胶管 |
2 |

|
序号 |
代码 |
名称 |
数量 |
备注 |
|
1 |
60099334 |
中冷器1119SY75T-010 散热器ZH730x200x1080 |
1 |
|
|
2 |
60099327 |
水散热器1301SY75T-010 散热器ZH730x200x10 |
1 |

|
序号 |
代码 |
名称 |
数量 |
备注 |
|
1 |
60318888 |
水箱箱体SYM5428J.1.5-10-01 |
1 |
|
|
2 |
60165891 |
排气口盖HFM-01-0.9 |
1 |
|
|
3 |
60165889 |
加水口盖HFS-01-0.9 |
1 |
|
|
4 |
60318889 |
视镜管组件HFJ-01-02 145L |
1 |
|
|
5 |
60318887 |
螺栓HFL-01-01 M12×170 |
2 |

|
序号 |
代码 |
名称 |
数量 |
备注 |
|
1 |
13097160 |
排气管总成 |
1 |
|
|
2 |
13526822 |
前排气管总成 |
1 |
|
|
3 |
13040961 |
隔热罩总成 |
1 |
|
|
4 |
13192056 |
排气盖板 |
1 |
|
|
5 |
11725441 |
排气连接管 |
1 |
|
|
6 |
A210405000006 |
垫圈 |
6 |
|
|
7 |
A210405000007 |
垫圈 |
2 |
|
|
8 |
A210405000001 |
垫圈 |
4 |
|
|
9 |
12283879 |
减震垫 |
1 |
|
|
10 |
12487852 |
垫片 |
2 |
|
|
11 |
12409978 |
连接板 |
2 |
|
|
12 |
A220401000197 |
排气制动阀 |
1 |
|
|
13 |
A229900002220 |
T型抱箍 |
2 |
|
|
14 |
A210307000017 |
螺母 |
8 |
|
|
15 |
A210110000171 |
螺栓M10×100GB5782 |
4 |
|
|
16 |
A210307000001 |
螺母 |
12 |
|
|
17 |
A210111000038 |
螺栓M12×30GB5783-00 |
4 |
|
|
18 |
A210111000040 |
螺栓 |
4 |
|
|
19 |
A210307000016 |
螺母 |
6 |
|
|
20 |
A210111000081 |
螺栓 |
6 |
|
|
21 |
A210307000012 |
螺母 |
5 |
|
|
22 |
A210111000090 |
螺栓 |
5 |

|
序号 |
代码 |
名称 |
数量 |
备注 |
|
23 |
10266848 |
金属软管总成QY130.6.4-8 |
1 |
|
|
24 |
12025116 |
尿素喷射线 |
1 |
|
|
25 |
13047475 |
排气尾管环箍 |
1 |
|
|
26 |
13097158 |
排气尾管 |
1 |

|
序号 |
代码 |
名称 |
数量 |
备注 |
|
1 |
60105345 |
工作缸体总成RTST-3524030 |
1 |
|
|
2 |
60105342 |
蝶片RTST-3524116A |
1 |
|
|
3 |
60105344 |
阀体RTST-3524115A |
1 |

|
序号 |
代码 |
名称 |
数量 |
备注 |
|
1 |
13766286 |
发动机左前支架 |
1 |
|
|
2 |
13766290 |
发动机右前支架 |
1 |
|
|
3 |
12112494 |
后悬支架 |
2 |
|
|
4 |
12112266 |
前悬下支架 |
2 |
|
|
5 |
12112447 |
发动机左后支架 |
1 |
|
|
6 |
12112485 |
发动机右后支架 |
1 |
|
|
7 |
A210710000003 |
卡套8GB3764 |
1 |
|
|
8 |
A210405000007 |
垫圈 |
4 |
|
|
9 |
A210405000011 |
垫圈 |
4 |
|
|
10 |
A210401000002 |
垫圈 |
23 |
|
|
11 |
A229900003019 |
衬套 |
1 |
|
|
12 |
A210405000001 |
垫圈 |
31 |
|
|
13 |
A210401000003 |
垫圈 |
6 |
|
|
14 |
A210405000002 |
垫圈 |
6 |
|
|
15 |
60273261 |
发动机WP10.336E53 DHL10Q0078 247kW 欧Ⅴ |
1 |
|
|
16 |
A229900003075 |
变速器悬置软垫 |
2 |
|
|
17 |
A229900008929 |
发动机后悬置软垫 |
2 |
|
|
18 |
A229900003038 |
直角弯头BLM08-01NPT |
1 |
|
|
19 |
A210306000008 |
螺母L8GB3759 |
1 |
|
|
20 |
A210111000025 |
螺栓 |
4 |
|
|
21 |
A210319000017 |
螺母M12GB889.1 10级 |
8 |
|
|
22 |
A210319000006 |
螺母M12GB889.1 |
8 |

|
序号 |
代码 |
名称 |
数量 |
备注 |
|
23 |
A210114000036 |
螺栓M12×1.5×35GB5786 |
4 |
|
|
24 |
A210111000037 |
螺栓 |
11 |
|
|
25 |
10905900 |
端直通接头 |
1 |
|
|
26 |
A210111000203 |
螺栓 |
8 |
|
|
27 |
A210111000040 |
螺栓 |
8 |
|
|
28 |
A210114000115 |
螺栓M14×1.5×30GB5786 |
6 |
|
|
29 |
A210319000004 |
螺母 |
4 |
|
|
30 |
A210111000090 |
螺栓 |
4 |
|
|
31 |
A229900009395 |
高温软管总成 |
1 |

|
序号 |
代码 |
名称 |
数量 |
备注 |
|
1 |
60326127 |
气缸盖螺栓61500010185S 潍柴 |
6 |
|
|
2 |
60272853 |
复合垫圈612600010735 |
3 |
|
|
3 |
60272621 |
主油道后螺塞61460070011 |
1 |
|
|
4 |
60230295 |
碗形塞90003989288 |
1 |
|
|
5 |
60106797 |
后油封61500010100 潍柴 |
1 |
|
|
6 |
60272458 |
密封垫圈612600050042 |
1 |
|
|
7 |
60272957 |
螺塞612600011927 |
1 |
|
|
8 |
60326582 |
六角头螺塞612600070160S 潍柴 |
1 |
|
|
9 |
60272811 |
安全阀弹簧614070068 |
1 |
|
|
10 |
60272810 |
安全阀614070069 |
1 |
|
|
11 |
60106768 |
汽缸套612630010015 潍柴 |
6 |
|
|
12 |
60272465 |
内六角圆柱头螺钉90003862428 |
22 |
|
|
13 |
60326116 |
喷嘴总成612600010659 潍柴 |
6 |
|
|
14 |
60272457 |
密封垫圈90003098015 |
6 |
|
|
15 |
60326514 |
空心螺栓90003962621 潍柴 |
6 |
|
|
16 |
60230303 |
六角头螺栓90003802493 |
5 |
|
|
17 |
60272622 |
主油道限压阀总成AZ1500070097 |
1 |
|
|
18 |
60272464 |
内六角螺塞90003962050 |
1 |
|
|
19 |
60326312 |
自锁垫圈188250083 潍柴 |
22 |
|
|
20 |
60272575 |
下止推片612600013918 |
2 |
|
|
22 |
60272538 |
上止推片612600013917 |
2 |
|
|
23 |
60125032 |
主轴瓦612600012208 潍柴欧Ⅳ |
7 |

|
序号 |
代码 |
名称 |
数量 |
备注 |
|
24 |
60352139 |
气缸体预装配612650010020 |
1 |
|
|
25 |
60272600 |
圆柱销90003901604 |
6 |
|
|
26 |
60230308 |
弹性圆柱销90003909626 |
6 |
|
|
27 |
60272514 |
气缸盖螺栓612600010893 |
1 |
|
|
28 |
60326127 |
气缸盖螺栓61500010185S 潍柴 |
16 |
|
|
29 |
60352135 |
气缸盖螺栓612600010893S |
5 |

|
序号 |
代码 |
名称 |
数量 |
备注 |
|
30 |
60326048 |
密封圈61000010134 潍柴 |
1 |
|
|
31 |
60326353 |
O型密封圈288730061 潍柴 |
1 |
|
|
32 |
60272597 |
圆柱销90003901418 |
2 |
|
|
33 |
60272905 |
六角法兰面承面带齿螺栓90011430008 |
3 |
|
|
34 |
60272853 |
复合垫圈612600010735 |
2 |
|
|
35 |
60230309 |
六角头螺塞90003962051 |
2 |
|
|
36 |
60272916 |
六角法兰面承面带齿螺栓612600013483 |
6 |
|
|
37 |
60352193 |
正时齿轮室612640010079 |
1 |

|
序号 |
代码 |
名称 |
数量 |
备注 |
|
38 |
60106770 |
曲轴总成612600020373 潍柴 |
1 |
|
|
39 |
60272597 |
圆柱销90003901418 |
1 |

|
序号 |
代码 |
名称 |
数量 |
备注 |
|
40 |
60352086 |
活塞总成612650020008 |
6 |
|
|
41 |
60352102 |
连杆总成612600030042 |
6 |
|
|
42 |
60352099 |
连杆上瓦612600030121 |
6 |
|
|
43 |
60352101 |
连杆下瓦612600030045 |
6 |

|
序号 |
代码 |
名称 |
数量 |
备注 |
|
44 |
60272498 |
气缸盖主螺栓612600040452 |
24 |
|
|
45 |
60272816 |
带肩螺母61200040034 |
21 |
|
|
46 |
60272836 |
吊环螺钉614010388 |
2 |
|
|
47 |
60352066 |
吊环夹紧块612650040025 |
2 |
|
|
48 |
60141426 |
气门杆密封套61800050151 |
24 |
|
|
49 |
60352134 |
气缸盖分总成612650040001 |
6 |
|
|
50 |
60339516 |
气缸盖垫片612600040646 |
6 |
|
|
51 |
60272876 |
夹紧块61200040023 |
15 |
|
|
52 |
60272877 |
夹紧块61200040027 |
2 |

|
序号 |
代码 |
名称 |
数量 |
备注 |
|
53 |
60352118 |
六角头螺栓1000271249 |
12 |
|
|
54 |
60352182 |
摇臂轴组件612630050018 |
6 |
|
|
55 |
60352190 |
圆柱销612639000087 |
30 |
|
|
56 |
60352185 |
摇臂座总成612630050013 |
6 |
|
|
57 |
60352184 |
摇臂组件612630050016 |
12 |
|
|
58 |
60352149 |
气门桥612630050009 |
6 |
|
|
59 |
60141411 |
气门锁夹612630050015 |
48 |
|
|
60 |
60352145 |
气门弹簧上座612630050014 |
24 |
|
|
61 |
60352144 |
气门弹簧612630050005 |
24 |
|
|
62 |
60352146 |
气门弹簧下座612630050019 |
24 |
|
|
63 |
60141417 |
进气门612630050001 |
12 |
|
|
64 |
60352171 |
推杆612650050002 |
12 |
|
|
65 |
60272510 |
气门挺柱61500050032 |
12 |
|
|
66 |
60352170 |
凸轮轴总成612650050006 |
1 |
|
|
67 |
60272560 |
凸轮轴正时齿轮614050053 |
1 |
|
|
68 |
60326584 |
六角头螺栓612600050145S 潍柴 |
4 |
|
|
69 |
60326585 |
六角头螺栓61560050059S 潍柴 |
4 |
|
|
70 |
60127717 |
卡盘61560050045 |
1 |
|
|
71 |
60272618 |
轴61560050058 |
1 |
|
|
72 |
60272616 |
中间齿轮总成61560050053 |
1 |
|
|
73 |
60326583 |
六角头螺栓90003802399S 潍柴 |
2 |
|
|
74 |
60272561 |
凸轮轴止推片614050133 |
1 |

|
序号 |
代码 |
名称 |
数量 |
备注 |
|
75 |
60272615 |
中间齿轮轴61560050044 |
1 |
|
|
76 |
60141419 |
排气门612630050002 |
12 |
|
|
77 |
60352046 |
EVB气门桥总成612630050008 |
6 |
|
|
78 |
60352050 |
EVB支架总成612630050147 |
1 |
|
|
79 |
60352048 |
EVB调整螺钉612630050011 |
1 |
|
|
80 |
60352047 |
EVB锁紧螺母612630050012 |
1 |

|
序号 |
代码 |
名称 |
数量 |
备注 |
|
81 |
60272867 |
机油泵垫片614070055 |
1 |
|
|
82 |
60326473 |
机油泵612600070484 潍柴 |
1 |
|
|
83 |
60272919 |
六角法兰面承面带齿螺栓612600070411 |
1 |
|
|
84 |
60272905 |
六角法兰面承面带齿螺栓90011430008 |
1 |
|
|
85 |
60272869 |
机油泵中间齿轮组件612600070364 |
1 |
|
|
86 |
60272962 |
密封圈614070155 |
1 |
|
|
87 |
60272614 |
中间齿轮轴6140756 |
1 |
|
|
88 |
60326587 |
六角头螺栓90003802578S 潍柴 |
1 |

|
序号 |
代码 |
名称 |
数量 |
备注 |
|
89 |
60272459 |
密封圈81400010032 |
2 |
|
|
90 |
60106703 |
机油冷却器61500010334 潍柴 |
1 |
|
|
91 |
60222436 |
波形弹性垫圈190003932023 |
4 |
|
|
92 |
60326059 |
内六角圆柱头螺钉90003862419S 潍柴 |
4 |

|
序号 |
代码 |
名称 |
数量 |
备注 |
|
93 |
60326291 |
支架612600080661 潍柴 |
1 |
|
|
94 |
60326373 |
弹簧垫圈90003931122 潍柴 |
3 |
|
|
95 |
60326594 |
六角头螺栓90003802523S 潍柴 |
3 |
|
|
96 |
60106692 |
共轨管612630080038 潍柴 |
1 |
|
|
97 |
60222435 |
波形弹性垫片90003932023 |
3 |
|
|
98 |
60230363 |
六角头螺栓90003802437 |
3 |
|
|
99 |
60326630 |
螺钉612600080660 潍柴 |
1 |
|
|
100 |
60326631 |
螺钉612600080659 潍柴 |
1 |
|
|
101 |
60125036 |
电控单元612640080004 潍柴欧Ⅳ |
1 |
|
|
102 |
60326588 |
六角头螺栓612639000050 潍柴 |
4 |

|
序号 |
代码 |
名称 |
数量 |
备注 |
|
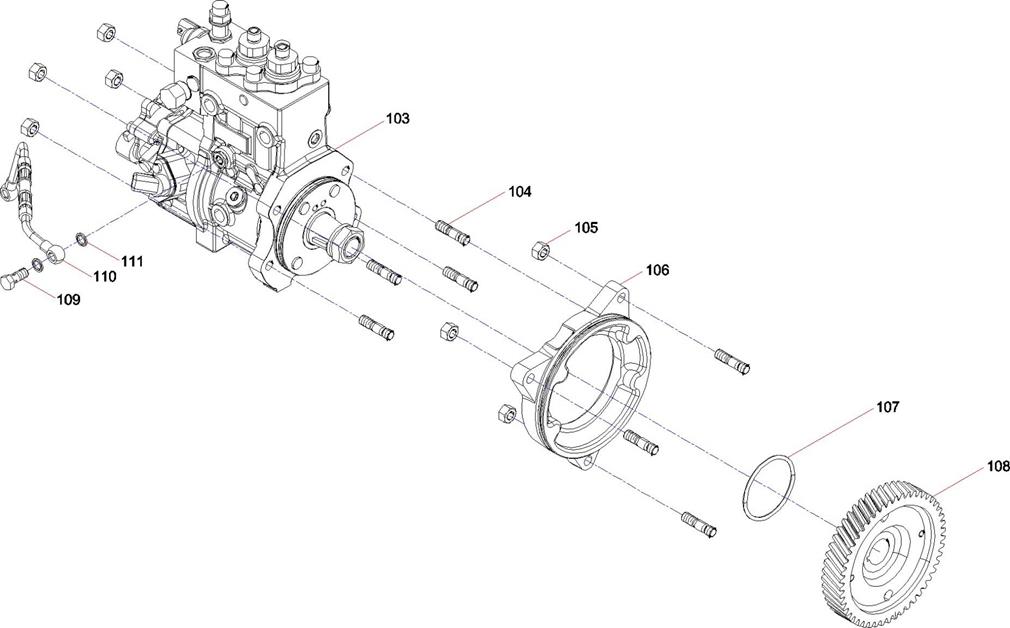
103 |
60125015 |
共轨泵612640080015 潍柴欧Ⅳ |
1 |
|
|
104 |
60326182 |
双头螺柱90003813532S 潍柴 |
7 |
|
|
105 |
60218293 |
2型全金属六角锁紧螺母190003888452 |
7 |
|
|
106 |
60127617 |
法兰612600080486 |
1 |
|
|
107 |
60272455 |
密封圈612600080400 |
1 |
|
|
108 |
60326106 |
喷油泵齿轮612600080452 潍柴 |
1 |
|
|
109 |
60272895 |
空心螺栓612639000047 |
2 |
|
|
110 |
60326177 |
润滑油进油管组件612600070309 潍柴 |
1 |
|
|
111 |
60272960 |
密封垫圈612600080246 |
4 |
